iOS 10 交互设计指南

发表于 讨论求助 2023-05-10 14:56:27

Design+

我们是体验设计职场训练营,致力于体验设计精英人才的培养。融合设计思维、产品思维、用户思维,UI设计、交互设计、用户体验、敏捷开发的系统组织。



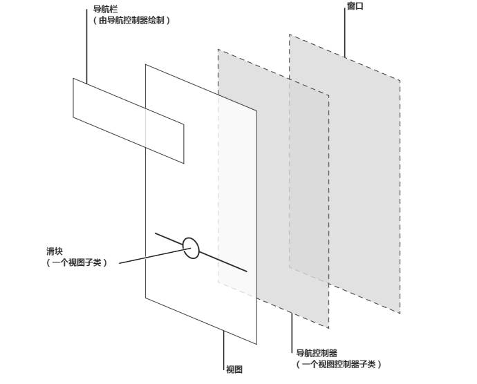
几乎所有的iOS应用都由UIKit framework中定义的组件构成,了解这些基本组件的名称、作用和功能可以帮助你在应用的界面设计过程中提供更好的帮助。





UIKit提供的UI组件分为以下4种类型:


包含了上下文信息来指引用户他们所在的位置,以及控件来帮助用户导航或执行操作,例如状态栏、导航栏、标签栏等。


内容视图

包含了应用的具体内容以及某些操作行为,例如列表、表单、文本、滚动、插入、删除、排序等。


控件

包含了对内容视图执行操作或展示信息,例如分段控件、日期时间选择器、滑块、圆角矩形按钮、开关等。


临时视图

包含了短暂出现给予用户重要信息或提供更多的选择和功能,例如警告框、操作列表、模态视图等。


信息布局很重要


布局不仅仅是设计展示,还应该告诉用户什么是最重要的,让用户集中注意在主要任务上,强调重要内容或功能。在屏幕上半部分放置主要内容,遵循用户从左到右、从上到下的阅读习惯,从靠近左侧的屏幕开始,使用不同的视觉化重量和平衡来告诉用户当前视图内容的主次关系。






即时启动


尽可能避免使用闪屏或者其他启动体验方式,最好是让用户能够在启动应用后立即开始使用。通常用户不会花超过一分钟去体验一款新的应用,因此可以最大程度地利用这极短的时间,即时呈现对用户有帮助的内容,这样才能够激发新用户的兴趣并给他们一种超赞的体验。


如果无可避免展示闪屏,那么提供一张与应用首页看上去一样的闪屏,程序会在启动应用时调用这张图片,这样可以让用户觉得启动速度很快,产生没有等待的错觉。例如系统“天气”应用,在启动时先展示一张与晴天界面同样的背景。




优先体验


尽可能让用户晚一点再登录,最好是在无需登录的情况下就能尽量多地浏览内容并使用部分功能。例如App Store会在用户进行购买商品时,才要求用户登录。对于强制用户登录后才能进行一切有用操作的应用,用户往往会直接放弃。我们常常会遇见这样的场景,当你使用第三方注册后,应用又让你使用手机再次注册,这非常糟糕。如果应用必须先登录后使用,那么应该在登录页面备注一些简短的文字来描述为什么必须先登录,以及这样做会给用户带来什么好处。






谨慎使用介绍应用功能和如何进行操作的新手引导,在考虑新手引导之前,应该努力地完善应用,尽可能使应用的功能直观和易于寻找。一个真正好的应用不需要新手引导,如果确实需要新手引导,那么请设计一个简洁并且不妨碍用户的新手引导。


不要太早要求用户去给你的应用评分,过早要求用户进行评分可能会适得其反。如果想获得有价值的反馈和评论,在邀请用户评论之前,先给他们一点时间来使用应用,当他们访问了一定数量的页面或完成了一定数量的任务之后,再邀请他们进行评价。


暗示交互性


为了暗示交互性,设计时会使用很多线索,包括点击的反馈、颜色、位置、表意明确的图标等,因此并不需要过于修饰元素来向用户展示可交互性。例如在支持3D Touch的设备上,当用户按压主屏上的图标时,背景会虚化以此来暗示可以进行更多功能的操作;一个关键的颜色可以给用户提供很强的视觉指引,同时能提供统一的、易识别的视觉风格,例如系统“音乐”;导航栏的返回按钮显示了一个指向后方的图标,使用了关键色并且显示了上一级页面的标题,这么多的线索都指明其可交互并传达其功能。


位于栏、动作列表和警告框中的按钮可以不需要边框,因为用户知道在这种区域中大多数是可交互的。但是在内容区域,有必要使用边框或背景将按钮从其他内容中区分出来,例如“家庭”在首页中的“Add Accessory”使用了带有背景的按钮。





标准手势


用户使用点击、拖拽、捏合等手势与iOS设备进行交互,这些手势在不同应用之间都是通用的。使用手势拉近了用户和设备之间的距离,并且增强了直接操纵感。


不要给标准手势赋予不同的行为,除非是游戏或媒体类应用,否则重新定义标准手势会使用户迷惑,且增加使用难度。也不要创建和标准手势功能相似的手势操作,用户已经习惯了标准手势的行为,没有必要让用户额外学习不同的操作手势来达到同样的操作结果。



点击/双击/长按



上下滑动/左右滑动/拖拽




捏合/旋转/摇晃



输入方式要简单


不管用户是点击控件还是使用键盘,输入信息都会花费时间和精力,复杂的内容输入会让用户感觉麻烦,因此让用户进行选择而不是键盘输入:一方面让用户在有限的选项中做选择容易于完全靠记忆输入;另一方面手机键盘密集的单键输入极易造成输入错误。


建议使用选择器或者表格代替纯文本,因为大部分用户觉得从列表中进行选择要比打字容易的多。合理地利用设备上存储的大量用户信息,适时地从iOS中获取信息,帮助用户快捷输入信息。






色彩


在iOS人机界面指南中提供了8种颜色,用于表明交互、传递活性以及提供视觉连续性。内置的应用程序选择使用这些看起来更具个性的、纯粹、干净的颜色,无论是组合和单独使用,在亮或暗的背景下都有非常优秀的视觉表现。





可以选择一种基准色颜色来表现交互性与状态,例如“备忘录”中的黄色和“日历”中的红色等。在定义一种用于表现交互和状态的基准色时,要确保应用中的其他颜色不会与它发生冲突,避免给可交互和不可交互的元素使用相同的颜色。如果可交互和不可交互的元素使用相同的颜色,用户将会难以判断哪些区域是可点击的哪些是不可点击的。


每个人眼中的色彩是不一样的,不同的文化为色彩赋予的意义也是不相同的,例如股市上涨用绿色表示和下跌用红色表示,是国际通行的惯例,而在中国、台湾和日本的股市却恰恰相反,是红涨绿跌而不是绿涨红跌。设计师可以研究如何使用色彩才可能会被其他国家或者文化接受,以确保使用的色彩向用户传达了恰当的信息。


字体


苹果公司为全平台重新设计了“San Francisco”英文字体和“苹黑”中文字体做为iOS 9及未来版本的默认字体,为了突出某些文字或者为了在内容块之间建立视觉关联,可以将标题、正文指定字体权重, 如细体或者粗体,来帮助用户可视化界面内容的层次结构,或者把用户的注意力吸引到特定的词或短语。一个应用应该使用单一字体,多种字体的混杂会使界面看上去琐碎和草率。






应用图标


每个应用都需要一个富有美感和个性的图标,用户常常会在看到应用图标时便建立起对应用的第一印象,以此在心里作出评判应用的品质、作用以及可靠性。应用图标是整个应用品牌的重要组成部分,将图标设计当成一个讲述应用背后的故事,以及与用户建立情感连接的机会。一个好的应用图标是独特的、整洁的、打动人心的、让人印象深刻的。






功能图标


iOS提供了一系列功能图标,用以代表各种常见任务与操作,它们常用在标签栏、工具栏与导航栏中。有时候也可以用文字来代替工具栏和导航栏的图标,例如系统”日历“里面工具栏上使用了“今天”“日历”和“收件箱”代替图标。


在工具栏和导航栏中到底是用图标还是文字,可以优先考虑一屏中最多会同时出现多少个图标。同一屏幕中图标的数量过多可能会让整个应用看起来难以理解。同时还取决于屏幕方向是横向还是纵向,因为水平视图下通常会拥有更多的空间,可以承载更多的文字。






图片


无论是展示用户的照片,还是建自定义图片,都应该遵守以下要求:支持Retina显示屏,确保应用中的所有图片资源都提供了高分辨率规格。尤其需要注意的是,iPhone 7 Plus需要提供@3x规格的图片,而其他的高分辨率iOS设备需要提供@2x规格的图片。






不要在设计时使用苹果的应用图标、图像或者截图,所有苹果的设计均受版权保护并且不允许出现在界面中,一旦使用了任何侵权苹果的图片,App Store会直接拒绝通过你提交的应用,并要求进行整改。



术语和措辞


在应用中呈现的每一个字都是与用户进行对话的一部分,根据产品定位和用户群来决定使用什么样的词汇。例如在一款针对小白用户的应用中使用技术术语是不合适的,但对于针对高端用户的应用来说,使用技术术语是很自然的事情。避免太正式、太僵化,或者太过嘻嘻哈哈和傲慢无礼的语气。当文案足够简明扼要, 用户就可以很轻松地阅读和理解它。


来源 苹果公司 iOS Human Interface Guidelines

配图 BAT



新班11月28日开班。

期待遇到不同的你。

我们是梦想的容器,设计的土壤。

在D+,遇到更好的自己。


一一一一一一一 Design+ 一一一一一一一

UI 丨 UE 丨 UX 丨 PM

敏捷设计丨设计思维


武汉市洪山区街道口兆富国际1805、1806

发表
26906人 签到看排名